ОТГРУЗИЛИ ИЗДЕЛИЙ
с 2008 года: тонн
по чертежам тонн
по сериям и ТУ тонн
из артбетона Блоки ФБСМы производители! Ассортимент - более 50 тысяч номенклатурных позиций для любых cтроительных задач.У нас можно купить блоки ФБС с доставкой по Санкт-Петербургу (СПб), Москве, Ростову-на-Дону, Казани, Екатеринбургу, Новосибирску, Хабаровску и другим городам России и Казахстана (Алма-Ате, Астане, Шымкенте, Актобе). Мы изготавливаем линейку размеров блоков ФБС – фундаментных сплошных блоков, которые широко используются для обустройства фундаментов в строительстве любых по этажности и назначению зданий и сооружений. Диапазон типоразмеров фундаментных сплошных блоков, которые мы предлагаем, позволяет использовать нашу продукцию как для строительства фундаментов для быстросборных зданий (каркасных), малоэтажных домов или цехов, капитальных многоэтажных жилых построек. Принятые условные обозначения: ГОСТ 13579-78
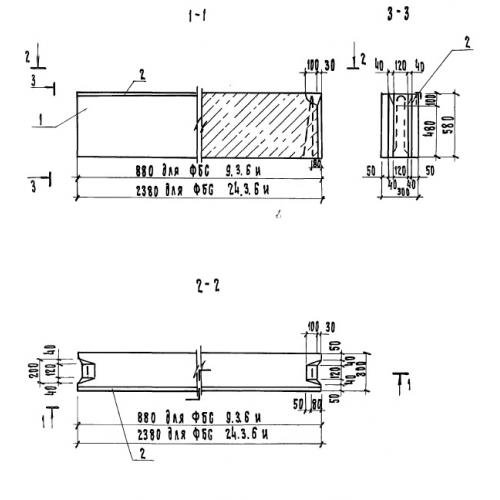
ФБС9-3-6т
ФБС - фундаментальный блок сплошной. 9 - длина блока(дм). 3 - ширина блока(дм). 6 - высота блока(дм). т - тип бетона(т-тяжелый).
Типоразмеры блоков ФБСНа изготавливаемые нами блоки ФБС цена зависит не от качества бетона и арматуры, а от типоразмера. Предлагаемый нами ассортимент включает блоки ФБС длиной от 390 мм до 2,5 метров, высотой от 200 до 600 мм и шириной от 200 до 600 мм. Форма, физические характеристики бетона и арматуры, количество полукруглых выступающих арматурных элементов и соотношение общей длины и ширины к длине и ширине выступающих фасонных элементов остаются одинаковыми независимо от типоразмера блока ФБС. Как рассчитывается цена на блок ФБСРасчет стоимости ФБС блоков производится исходя из их типоразмера и объема закупаемой партии, а также – местоположения заказчика. Ключевой момент, определяющий на блоки ФБС цены – масса отдельного блока, оказывающая влияние и на стоимость доставки, и на себестоимость отдельного блока. Сезонность спроса на устанавливаемую на блоки ФБС цену влияния практически не оказывают: при использовании блоков в качестве основы для ленточного или монолитного фундамента работы могут вестись как в сезон, так и в холодное время года. Все изготавливаемые нами блоки ФБС для фундаментов соответствуют требованиям к этому типу бетонных конструкций, закрепленных в ГОСТ 13579-78 и отраслевых технических условиях – независимо от их типоразмеров. Цена по запросу. Наличие по запросу. Популярные товары в каталоге
![]()
У нас можно заказать изготовление по чертежам любых ЖБИ
в соответствии с ТР ТС
Доставка в любой город России и Казахстана Цена от 10000 рублей за 1 м3 ( от 5 руб за кг). Производство ЖБИ
Консультация эксперта
Сергеев Александр Вячеславович - Эксперт с 25-летним стажем в сфере производства ЖБИ и изделий из бетона.
Смотрите также:
Блоки из фибробетона
Блоки опоры
Блок-опора бетонная
Диафрагмы жесткости
жби
Доборные элементы
Двухветвевые колонны
жб
Дырчатые блоки для фундаментов под машины
Бетонные щелевые полы
от завода
Балконные плиты
Балки ростверков БР
Балки подкрановых путей
из бетона
Балки фундаментные
Балка строительная
(бетон)
Без категории
Нам доверяют:
|





