ОТГРУЗИЛИ ИЗДЕЛИЙ с 2008 года: тонн по чертежам тонн по сериям и ТУ тонн из артбетона Ступень ЛСП 12.17-С ГОСТ 8717.0-84
Популярные товары в каталоге
![]()
У нас можно заказать изготовление по чертежам любых ЖБИ
в соответствии с ТР ТС
Доставка в любой город России и Казахстана Цена от 10000 рублей за 1 м3 ( от 5 руб за кг). Производство ЖБИ
Консультация эксперта
Сергеев Александр Вячеславович - Эксперт с 25-летним стажем в сфере производства ЖБИ и изделий из бетона.
Смотрите также:Ступень ЛСП 12.17-Л ГОСТ 8717.0-84
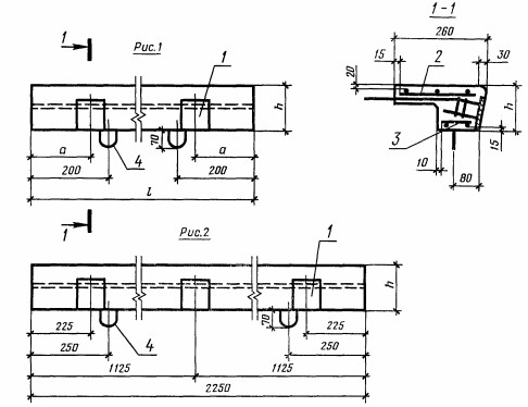
Ступень ЛСП 12.17 ГОСТ 8717.0-84 Ступень ЛСП 12 ГОСТ 8717.0-84 Ступень ЛСП 12-Л ГОСТ 8717.0-84 Ступень ЛСП 12-С ГОСТ 8717.0-84 Ступень ЛСП 14 ГОСТ 8717.0-84 Ступень ЛСП 12.17-С ГОСТ 8717.0-84 в наличии и под заказ по цене от 10 т.р. за м3. У нас можно купить ЖБИ «Ступень ЛСП 12.17-С ГОСТ 8717.0-84» с доставкой в любой город, а также любые ЖБИ изделия.
Нам доверяют:
|



