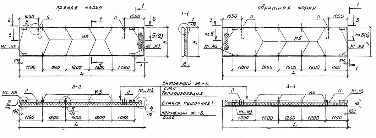
ОТГРУЗИЛИ ИЗДЕЛИЙ с 2008 года: тонн по чертежам тонн по сериям и ТУ тонн из артбетона Панель ПСТ 60.9-3,0-ТП-6 Серия 1.432.1-21
Популярные товары в каталоге
![]()
У нас можно заказать изготовление по чертежам любых ЖБИ
в соответствии с ТР ТС
Доставка в любой город России и Казахстана Цена от 10000 рублей за 1 м3 ( от 5 руб за кг). Производство ЖБИ
Консультация эксперта
Сергеев Александр Вячеславович - Эксперт с 25-летним стажем в сфере производства ЖБИ и изделий из бетона.
Смотрите также:Панель ПСТ 60.9-3,0-ТП-5 Серия 1.432.1-21
Панель ПСТ 60.9-3,0-ТП-4 Серия 1.432.1-21 Панель ПСТ 60.9-3,0-ТП-1 Серия 1.432.1-21 Панель ПСТ 60-12-2,0-3 Серия 1.432.1-26 Панель ПСТ 60-12-2,0-4 Серия 1.432.1-26 Панель ПСТ 60-12-2,0-5 Серия 1.432.1-26 Панель ПСТ 60.9-3,0-ТП-6 Серия 1.432.1-21 в наличии и под заказ по цене от 10 т.р. за м3. У нас можно купить ЖБИ «Панель ПСТ 60.9-3,0-ТП-6 Серия 1.432.1-21» с доставкой в любой город, а также любые ЖБИ изделия.
Нам доверяют:
|










