ОТГРУЗИЛИ ИЗДЕЛИЙ
с 2008 года: тонн
по чертежам тонн
по сериям и ТУ тонн
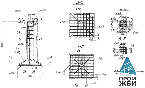
из артбетона Сборный ж/б фундамент под стальные опоры ВЛМы производители! Ассортимент - более 50 тысяч номенклатурных позиций для любых cтроительных задач.У нас можно купить любую серийную и нестандартную ЖБИ продукцию (с фибро-, стекло-, керамзитом, сульфатостойким цементом и другими добавками) с доставкой по Санкт-Петербургу (СПб), Москве, Ростову-на-Дону, Казани, Екатеринбургу, Новосибирску, Хабаровску и другим городам России и Казахстана (Алма-Ате, Астане, Шымкенте, Актобе). Опоры воздушных коммуникационных линий требуют надежного основания. Железобетонные сборные фундаменты полностью соответствуют всем требованиям в этом качестве. Изделия прочны, удобны в монтаже, выдерживают значительные нагрузки. Выпускаются подножники под стальные опоры ВЛ в разных вариантах – модифицированные, повышенные, с болтовым или сварным соединением. «ПромЖБИ» предлагает различные типы сборных фундаментов под опоры воздушных линий, произведенных на современном высокоточном оборудовании из качественного сырья. Покупка напрямую у производителя, без посредников и дилеров – оптимальный вариант для желающих обойтись без лишних затрат. При необходимости доставляем продукцию в любой регион страны, а также в Казахстан. Выдаем паспорт качества на руки.
Производство и заказИзделия выполняют из прочных тяжелых бетонов марок М200-М400, обеспечивая с помощью внесения добавок в раствор достаточную морозо- и водостойкость (значения параметров определяются климатическими условиями в регионе эксплуатации). Изделия изготавливают не заводах предприятия без привлечения дополнительных производственных мощностей, поэтому мы гарантируем качество. Все процессы на производстве автоматизированы и проводятся под двойным контролем – специализированного ПО и оператора.
Заказать сборные фундаменты под стальные опоры ВЛ можно по телефонам, указанным в разделе «Контакты», с помощью письма на электронную почту или другим удобным способом. Специалист ответит на вопросы, расскажет об условиях оплаты и доставки, оформит заказ. Опоры воздушных коммуникационных линий требуют надежного основания. Железобетонные сборные фундаменты полностью соответствуют всем требованиям в этом качестве. Изделия прочны, удобны в монтаже, выдерживают значительные нагрузки. Выпускаются подножники под стальные опоры ВЛ в разных вариантах – модифицированные, повышенные, с болтовым или сварным соединением. |

