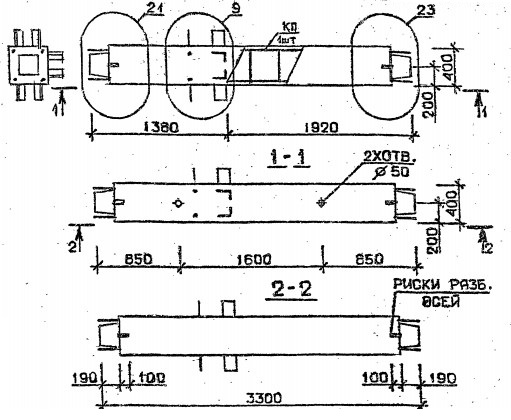
ОТГРУЗИЛИ ИЗДЕЛИЙ с 2008 года: тонн по чертежам тонн по сериям и ТУ тонн из артбетона Колонна 3КС 33.99-1-с Серия 1.020.1-2с/89
Популярные товары в каталоге
![]()
У нас можно заказать изготовление по чертежам любых ЖБИ
в соответствии с ТР ТС
Доставка в любой город России и Казахстана Цена от 10000 рублей за 1 м3 ( от 5 руб за кг). Колонны нашего производства
Консультация эксперта
Сергеев Александр Вячеславович - Эксперт с 25-летним стажем в сфере производства ЖБИ и изделий из бетона.
Смотрите также:Колонна 3КС 33.99-11-с Серия 1.020.1-2с/89
Колонна 3КС 33.99-11 Серия 1.020.1-2с/89 Колонна 3КС 33.99-1 Серия 1.020.1-2с/89 Колонна 3КС 33.99-3 Серия 1.020.1-2с/89 Колонна 3КС 33.99-3-с Серия 1.020.1-2с/89 Колонна 3КС 33.99-4 Серия 1.020.1-2с/89 Колонна 3КС 33.99-1-с Серия 1.020.1-2с/89 в наличии и под заказ по цене от 10 т.р. за м3. У нас можно купить ЖБИ «Колонна 3КС 33.99-1-с Серия 1.020.1-2с/89» с доставкой в любой город, а также любые ЖБИ изделия.
Нам доверяют:
|




