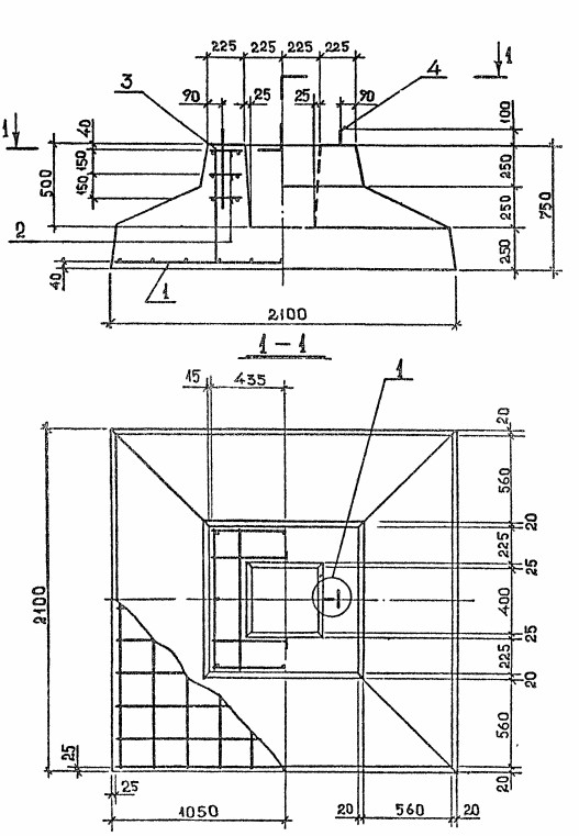
ОТГРУЗИЛИ ИЗДЕЛИЙ с 2008 года: тонн по чертежам тонн по сериям и ТУ тонн из артбетона Фундамент 1Ф 21.9-1 Серия 1.020.1-7
Популярные товары в каталоге
![]()
У нас можно заказать изготовление по чертежам любых ЖБИ
в соответствии с ТР ТС
Доставка в любой город России и Казахстана Цена от 10000 рублей за 1 м3 ( от 5 руб за кг). Производство ЖБИ
Консультация эксперта
Сергеев Александр Вячеславович - Эксперт с 25-летним стажем в сфере производства ЖБИ и изделий из бетона.
Смотрите также:Фундамент 1Ф 21.8-2 Серия 1.020.1-7
Фундамент 1Ф 21.8-1 Серия 1.020.1-7 Фундамент 1Ф 18.9-3 Серия 1.020.1-7 Фундамент под колонну 2ФР ТП 901-4-63.83 Фундамент Ф12.9-1 Серия 1.020.1-2с/89 Фундамент Ф12.9-2 Серия 1.020.1-2с/89 Фундамент 1Ф 21.9-1 Серия 1.020.1-7 в наличии и под заказ по цене от 10 т.р. за м3. У нас можно купить ЖБИ «Фундамент 1Ф 21.9-1 Серия 1.020.1-7» с доставкой в любой город, а также любые ЖБИ изделия.
Нам доверяют:
|












